Canon has just filed a new patent today talking about EF & EF-S adaptor for full frame mirrorless cameras. This is just a patent, there is no sign that Canon will making full frame mirrorless cameras yet, also the EOS M APS-C mirrorless cameras are only for Asia and Europe markets now.
Patent: (Translated by Google)
- Patent Publication No. 2015-118208
- Published 2015.6.25
- Filing date 2013.12.18
- Canon patents
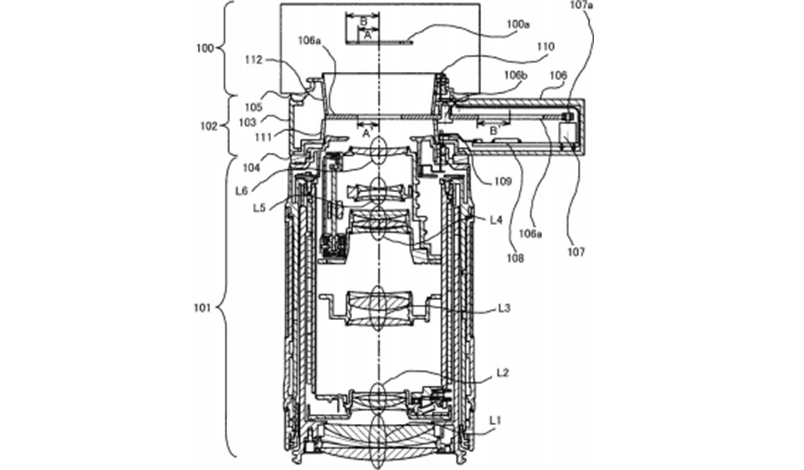
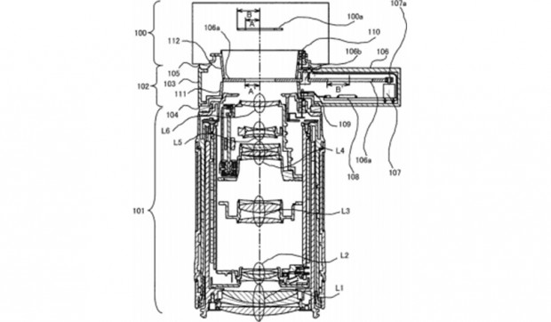
- Flange back is shorter body
- Flange back is long, a lens having the same image circle as the image pickup device body
- Flange back is long, a lens with a smaller image circle than the image pickup device body
- Mount adapter to change the diameter of the flare cut stop, depending on the image circle of mounting the lens
via: EG
Read More: Canon Rumors
