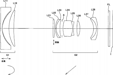
Nikon filed a new lens patent for Nikon full frame mirrorless cameras, is this means Nikon Full Frame mirrorless camera is coming? The lens is 28-80mm f/3.5-5.6 VR.
Continue reading “Nikon Full Frame Mirrorless Lens Patent: 28-80mm f/3.5-5.6 VR”
Canon Rumors, Nikon Rumors, Sony Rumors, and more Camera Rumors !
Nikon filed a new lens patent for Nikon full frame mirrorless cameras, is this means Nikon Full Frame mirrorless camera is coming? The lens is 28-80mm f/3.5-5.6 VR.
Continue reading “Nikon Full Frame Mirrorless Lens Patent: 28-80mm f/3.5-5.6 VR”
Nikon has announced the new Nikon 1 J4 in Japan. Here are first official sample images of Nikon 1 J4.
The first images of upcoming Nikon 1 J4 and AF-S DX NIKKOR 18-300mm f/3.5-6.3G ED VR lens has leaked online.
Continue reading “Nikon 1 J4 and AF-S DX NIKKOR 18-300mm f/3.5-6.3G ED VR Images Leaked”
Nikon 1 V3 has just announced several days ago, according to NR, the successor of Nikon 1 J3 – Nikon 1 J4 could announced soon.
Here is full specs comparison of new announced Nikon 1 V3 and Nikon 1 V2, Sony A6000, Fujifilm X-T1 mirrorless cameras.
Continue reading “Nikon 1 V3 Vs. 1 V2 Vs. Sony A6000 Vs. Fujifilm X-T1 Specs Comparsion”
Nikon 1 V3 has just announced today, the price for Nikon 1 V3 with 10-30mm lens is $1,199.95. It will be released on April 17, 2014. You can pre-order Nikon 1 V3 today.

Here are first official sample images of Nikon 1 V3 mirrorless camera. You can click the image to see full size:
Nikon has announced the new Nikon 1 V3 mirrorless camera, the latest addition to the company’s mirrorless lineup. The V3 sports a new 18.4 megapixel 1″-type CMOS sensor with on-chip phase detection that covers nearly 100% of the frame. Combined with the Expeed 4A processor, the V3 can shoot at 20 fps with continuous AF, and 60 fps with single AF. Other features include twin dial control, a tilting 3-inch touchscreen LCD, manual exposure control, 1080/60p video, and built-in Wi-Fi.
Continue reading “Nikon 1 V3 Announced, Price, Specs, Release Date”
The Nikon 1 V3 mirrorless camera will be announced in several hours, at Midnight New York time. Here are first leaked images of Nikon 1 V3.
Continue reading “Nikon 1 V3 Leaked Images, Features 120 fps HD Video”
The next camera from Nikon will be Nikon 1 V3 mirrorless camera. This mirrorless camera is rumored to be announced in mid-March.
Continue reading “Nikon 1 V3 Specs Rumors, to be Announced in mid-March”