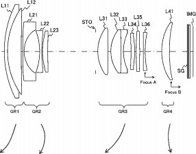
According to egami, Sony field a new lens patent for 10-36mm f/1.8-2.8 lens designed for a 1″ sensor (28-100mm equivalent).
This lens could be the lens of upcoming Sony Cyber-shot DSC-RX200 compact camera.
via: EG
Canon Rumors, Nikon Rumors, Sony Rumors, and more Camera Rumors !
According to egami, Sony field a new lens patent for 10-36mm f/1.8-2.8 lens designed for a 1″ sensor (28-100mm equivalent).
This lens could be the lens of upcoming Sony Cyber-shot DSC-RX200 compact camera.
via: EG