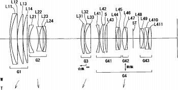
Nikon USA announced the AF-S NIKKOR 18-35mm f/3.5-4.5G ED Lens. This lens is an ultra wide-angle zoom lens compatible with the FX format and offering approximately 1.9x magnification. It covers the ultra-wide to wide-angle 18-35mm range of focal lengths with a minimum focus distance of 28 cm. This high-performance lens is equipped with two ED and three aspherical lens elements for superior optical performance, yet weighs just 385 g and is compact enough to offer excellent portability. This lens is a good choice for Nikon D600.
See: AF-S NIKKOR 18-35mm f/3.5-4.5G ED Sample Images Continue reading “AF-S NIKKOR 18-35mm f/3.5-4.5G ED announced with Price, Features, Specs, MTF Chart”







