Videos: The Fucking Nikon D800 vs. Canon EOS 5D Mark III Shootout

The two videos below are the comparsion of two best full frame DSLRs in 2012, which is Nikon D800 and Canon EOS 5D Mark III. The videos are really interesting. Just take a look. Continue reading “Videos: The Fucking Nikon D800 vs. Canon EOS 5D Mark III Shootout”

Hurry up ! Canon T3i and T3 Bargains at Adorama

Adorama.com today has a couple of Canon EOS Rebel T3i and T3 deals for you:

Until sunday night 6/10/12, get the Canon EOS Rebel T3 Digital SLR Camera with EF-S 18-55mm f/3.5-5.6 IS Lens bundled with a Canon Pixma MG6120 Wireless Inkjet Photo All-in-One Printer, 16GB SD Memory Card, Slinger Camera Bag, Lens Cleaning Kit and Red Giant Adorama Production Bundle for PC/Mac for $529.00. Continue reading “Hurry up ! Canon T3i and T3 Bargains at Adorama”

Download Canon EOS 650D / Rebel T4i Sample Images and Movies

Canon EOS 650D / Rebel T4i sample images and movies are available for everyone to download now:

Canon EOS 650D / Rebel T4i Sample Images

Continue reading “Download Canon EOS 650D / Rebel T4i Sample Images and Movies”

Pre-order Canon EOS 650D / Rebel T4i

Canon has announced the EOS 650D (known as the Rebel T4i in North America), and 18MP touch-screen DSLR with a sensor-based hybrid AF system for improved focus in movie and live view modes. The camera gains the all-cross-type 9-point AF sensor from the EOS 60D and can now shoot at 5fps. It also adds stereo mics for its Full HD video recording, which is available at 30, 25 and 24fps. The camera will be available from the end of June at a price of $849, body only, $949 will the 18-55mm IS lens or $1199 with the co-announced 18-135mm STM IS lens. Continue reading “Pre-order Canon EOS 650D / Rebel T4i”

Canon EF 40mm EF f/2.8 STM Pancake Lens Release Date, Price, Specs, Where to Buy

Canon has developed the EF 40mm F/2.8 STM lens with stepper motors for fast, quiet operation when shooting video. The 40mm STM is a pancake prime lens for full frame and APS-C cameras. Feature stepper motors, to enable fast, quiet focus, particularly with the contrast-detection method of autofocus used for live view and video. It has electromagnetic diaphragms – allowing smooth and accurate control over aperture for video shooting.

Price | Specs | Release Date | Where to Buy

Continue reading “Canon EF 40mm EF f/2.8 STM Pancake Lens Release Date, Price, Specs, Where to Buy”

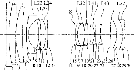
FX Lens Nikkor 24-85mm f/3.5-4.5 VR could be announced next week

For the new Nikon D600, Nikon will also release a new cheap FX lens “Nikkor 24-85mm f/3.5-4.5 VR“. And NR said this lens could be announced next week, may be June 15th. Continue reading “FX Lens Nikkor 24-85mm f/3.5-4.5 VR could be announced next week”

Canon EOS 650D / Rebel T4i Full Specs Leaked

Canon rumors posted full specs of new Canon EOS 650D / Rebel T4i, see below:

Featured specs:
  • 18 MP APS-C
  • SDHC slot, USH-1 complaint
  • Current xxD’s AF system (9 cross-type points, found in 40D, 50D, 60D)
  • T3i metering system (63 zones like 7D and 5DIII)
  • ~5 fps
  • Standard Rebel viewfinder
  • ISO 100-12,800 expandable to 25,600
  • Articulated touchscreen LCD
  • Hybrid AF during video shooting

Continue reading “Canon EOS 650D / Rebel T4i Full Specs Leaked”