AF-S NIKKOR 600mm f/5.6 PF Lens Coming this Summer

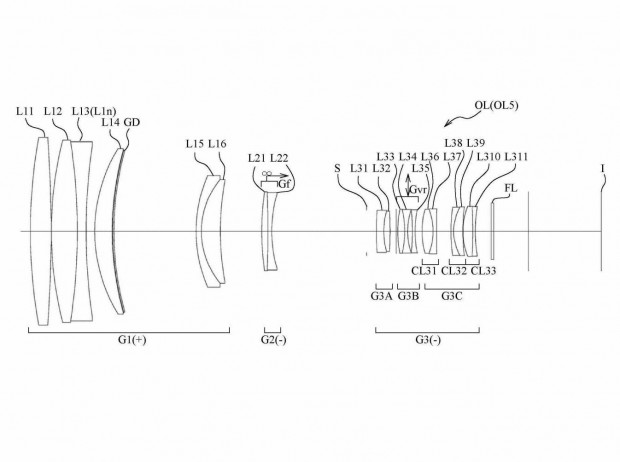
Nikon-600mm-f5.6-lens-patent

According to latest rumors on NR, Nikon is going to release a new AF-S NIKKOR 600mm f/5.6 PF lens in next several months, probably in this Summer.

This AF-S NIKKOR 600mm f/5.6 PF lens will be much lighter than current AF-S NIKKOR 600mm f/4E FL ED VR lens. The price will much cheaper, to be a good kit lens for Nikon D850 DSLR camera. And it will be also much shorter, about 33cm long according to patent, while f/4 version is 43cm long.

via: NR